固定电话:

0517-86881563

手机热线:

153-1230-7860

当前位置:首页 >> 新闻动态
一种电磁流量计传感器模块化组装装置
技术领域
本发明涉及电磁流量计技术领域,具体涉及一种电磁流量计传感器模块化组装装置。
 
背景技术
流量计是测量管道或明渠中流体流量的一种仪表,而流量计可分为差压式流量计、节流式流量计、容积流量计、电磁流量计等,而其中的电磁流量计是根据导电流体通过外加磁场时感生的电动势来测量导电流体流量的一种测量仪表,具有低功耗受干扰功能强的优点。而现有电磁流量计传感器组装过程中,特别是励磁线圈和砂钢片的组装由于手工程度高,导致产品组装效率低、一致性差等不可控因数增加,影响车间的生产效率
 
发明内容
针对现有技术的不足,本发明提供一种电磁流量计传感器模块化组装装置
本发明的电磁流量计传感器模具,包括模具底座,模具底座的顶面固定连接有模具挡板,模具挡板的表面固定连接有模具连接杆,模具连接杄远离模具挡板的一端固定连接有调节模具,模具挡板的表面开设有升降活动槽,升降活动槽的内壁滑动连接有升降滑块,升降滑块的表面固定连接有升降板,升降板的表面开设有调节活动槽,调节活动槽的内壁活动连接有调节滑块,调节滑块的表面固定连接有调节杆,调节杆远离调节滑块的一端贯穿调节活动槽的内壁并延伸至升降板的外部,升降板的内部开设有与调节杆相配适的滑槽,调节杆的一端螺纹连接有固定盖,调节滑块的顶面固定连接有定位滑轨,升降板的底面固定连接有升降连接架,升降连接架的底面固定连接有升降活塞,升降活塞的表面套接有升降套管,升降套管的底端与模具底座的顶面固定连接,模具底座的顶面开设有与升降套管相配适的凹槽,升降套管的表面连通有导气管,导气管远离升降套管的一端贯穿模具挡板的表面并延伸至模具挡板的外部并连通有气囊,气囊的表面设置有气门芯,气囊的底面活动连接有气囊托板,气囊托板的表面与模具底座的表面固定连接。
本发明的电磁流量计传感器模具,其中升降板的数量为两个,且两个升降板以升降连接架的正面中线为对称轴分布在升降连接架的顶面。
本发明的电磁流量计传感器模具,其中升降活动槽与升降滑块的数量均为四个,且两个升降活动槽与升降滑块为一组,两组升降活动槽与升降滑块分别分布在升降板的顶面。
本发明的电磁流量计传感器模具,其中模具底座的顶面固定连接有固定挡板,模具底座的顶面开设有弹簧伸缩槽,弹簧伸缩槽的内壁固定连接有伸缩弹簧,伸缩弹簧的**固定连接有限位杆,限位杆的表面固定连接有弹性卡齿,固定挡板的表面与弹性卡齿的表面活动连接。
本发明的电磁流量计传感器模具,其中模具底座的顶面通过铰链固定连接有活动限位板,活动限位板的表面与弹性卡齿的表面活动连接。
本发明的电磁流量计传感器模具,其中限位杆的数量为两个,且两个限位杆以模具底座的正面中线为对称轴分布在两个升降板的底面。
与现有技术相比,本发明的有益效果如下
1、本发明通过调节模具与定位滑轨,使得在组装模具时,能够通过焊机的定位装置在定位滑轨上滑动,从而能够直接将需要焊接的焊钉焊接到需要组装的电磁流量计传感器上,不需人工手动定位,避免手动焊接造成的误差,从而避免了产品组装时的不可控性,达到了提高车间生产效率的效果。
2、本发明通过气囊与调节杆,在需要安装不同的零件时,通过观察定位滑轨与调节模具的相对位置,调节定位滑轨的高度和在升降板上的位置,来配合不同零件的安装位置,从而达到了方便传感器组装的效果。
附图说明
此处所说明的附图用来提供对本申请的进一步理解,构成本申请的一部分,本申请的示意性实施例及其说明用于解释本申请,并不构成对本申请的不当限定。在附图中
图1为电磁流量计传感器模具正剖结构示意图
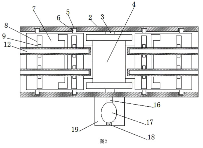
图2为电磁流量计传感器模具俯视结构示意图
图3为电磁流量计传感器模具侧剖结构示意图
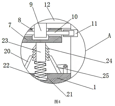
图4为图1中A处放大结构示意图。
图中:1、模具底座:2、模具挡板:3、模具连接杆;4、调节模具:5、升降活动槽:6、升降滑块:7、升降板:8、调节活动槽:9、调节滑块:10、调节杆;11、固定盖:12、定位滑轨:13、升降连接架;14、升降活塞;:15、升降套管;16、导气管;17、气囊;18、气门芯:19、气囊托板:20、固定挡板:21、弹簧伸缩槽:22、伸缩弹簧:23、限位杆;24、弹性卡齿:25、活动限位板.
 
具体实施方式
以下将以图式介绍本发明的多个实施方式,为明确说明起见,许多实务上的细节将在以下叙述中一并说明。然而,应了解到,这些实务上的细节不应用以限制本发明。也就是说,在本发明的部分实施方式中,这些实务上的细节是非必要的。此外,为简化图式起见,一些习知惯用的结构与组件在图式中将以简单的示意的方式绘示之。
另外,在本发明中如涉及“*”、“第二”等的描述仅用于描述目的,并非特别指称次序或顺位的意思,亦非用以限定本发明,其仅仅是为了区别以相同技术用语描述的组件或操作而已,而不能理解为指示或暗示其相对重要性或者隐含指明所指示的技术特征的数量。由此,限定有“*”、“第二”的特征可以明示或者隐含地包括至少ー个该特征。另外,各个实施例之间的技术方案可以相互结合,但是必须是以本领域普通技术人员能够实现为基础,当技术方案的结合出现相互矛盾或无法实现时应当认为这种技术方案的结合不存在,也不在本发明要求的保护范围之内。
本发明的电磁流量计传感器模具,包括模具底座1,模具底座1的顶面固定连接有模具挡板2,模具挡板2的表面固定连接有模具连接杆3,模具连接杆3远离模具挡板2的一端固定连接有调节模具4,模具挡板2的表面开设有升降活动槽5,升降活动槽5的内壁滑动连接有升降滑块6,升降滑块6的表面固定连接有升降板7,升降板7的表面开设有调节活动槽8,调节活动槽8的内壁活动连接有调节滑块9,调节滑块9的表面固定连接有调节杆10,调节杆10远离调节滑块9的一端贯穿调节活动槽8的内壁并延伸至升降板7的外部,升降板7的内部开设有与调节杆10相配适的滑槽,调节杆10的一端螺纹连接有固定盖11,调节滑块9的顶面固定连接有定位滑轨12,通过调节模具4与定位滑轨12,使得在组装模具时,能够通过焊机的定位装置在定位滑轨12上滑动,从而能够直接将需要焊接的焊钉焊接到需要组装的电磁流量计传感器上,不需人工手动定位,避免手动焊接造成的误差,从而避免了产品组装时的不可控性,达到了提高车间生产效率的效果,升降板7的底面固定连接有升降连接架13,升降连接架13的底面固定连接有升降活塞14,升降活塞14的表面套接有升降套管15,升降套管15的底端与模具底座1的顶面固定连接,模具底座1的顶面开设有与升降套管15相配适的凹槽,升降套管15的表面连通有导气管16,导气管16远离升降套管15的一端贯穿模具挡板2的表面并延伸至模具挡板2的外部并连通有气囊17,气囊17的表面设置有气门芯18,气囊17的底面活动连接有气囊托板19,气囊托板19的表面与模具底座1的表面固定连接,气囊17与调节杆10,在需要安装不同的零件时,通过观察定位滑轨12与调节模具4的相对位置调节定位滑轨12的高度和在升降板7上的位置,来配合不同零件的安装位置,从而达到了方便传感器组装的效果。
升降板7的数量为两个,且两个升降板7以升降连接架13的正面中线为对称轴分布在升降连接架13的顶面,使得能够保证同时对传感器两边的零件安装**定位。
升降活动槽5与升降滑块6的数量均为四个,且两个升降活动槽5与升降滑块6为组,两组升降活动槽5与升降滑块6分别分布在升降板7的顶面,使得定位滑轨12的移动更为稳定,不易卡住。
模具底座1的顶面固定连接有固定挡板20,模具底座1的顶面开设有弹簧伸缩槽21,弹簧伸缩槽21的内壁固定连接有伸缩弹簧22,伸缩弹簧22的**固定连接有限位杆23,限位杆23的表面固定连接有弹性卡齿24,固定挡板20的表面与弹性卡齿24的表面活动连接,使得能够在升降板7升高时保证升降板7的稳定不会滑落。
模具底座1的顶面通过铰链固定连接有活动限位板25,活动限位板25的表面与弹性卡齿24的表面活动连接,使得能够保证在需要降下升降板7时能够将活动限位板25放下即可快速降低升降板7高度,方便控制。限位杆23的数量为两个,且两个限位杆23以模具底座1的正面中线为对称轴分布在两个升降板7的底面,使得对升降板7的支撑更为稳定,保证安装定位的准确率。
在使用本发明时,在确定零件在传感器上的安装位置后,通过移动调节杆10的位置,将定位滑轨12对准至调节模具4上的位置后,拧动固定盖11使得定位滑轨12固定,随后按压气囊17,使得升降套管15中的升降活塞14将升降板7升起,移动到合适的位置后,即可将外部设备的定位装置放到定位滑轨12中,利用靠模的原理,外部的焊接或安装设备即可沿着定位滑轨12的轨迹移动,保证在安装台上的零件能够对准模具需要安装的位置,不需人工手动对准,避免安装出现误差,达到了提高车间生产效率的效果。
 

上一条:水厂电磁流量计的选用与安装
下一条:分体式电磁流量计传感器接线盒结构


客户服务热线
15312307860

联系我们