固定电话:

0517-86881563

手机热线:

153-1230-7860

当前位置:首页 >> 新闻动态
一种便于安装的电磁流量计
技术领域
本实用新型涉及电磁流量计技术领域,具体涉及一种便于安装的电磁流量计。
 
背景技术
电磁流量计是20世纪50-60年代随着电子技术的发展而迅速发展起来的新型流量测量仪表。电磁流量计是应用电磁感应原理,根据导电流体通过外加磁场时感生的电动势来测量导电流体流量的一种仪器。在进行安装连接时,一般采用法兰盘来进行连接固定,但是,由于电磁流量计的两端均连接管道,在连接时,很多时候都是悬空进行安装,这时需要辅助装置托举进行安装,且在安装过程中,很容易因为微小移动而造成连接不紧密,出现泄露。
 
发明内容
鉴于现有技术中的上述缺陷或不足,期望提供一种便于安装的电磁流量计。根据本申请实施例提供的技术方案,一种便于安装的电磁流量计,包括电磁流量计主体,所述电磁流量计主体包括法兰盘、测量导管和转换器,所述测量导管为水平横向放置管道,所述转换器固定在所述测量导管的上端面,两个所述法兰盘分别位于所述测量导管的左端面和右端面,还包括定位装置,两个所述定位装置分别固定在所述测量导管的前端面和后端面。
所述定位装置包括U型连接组件、可转动伸缩杆、夹持弧形件,所述U型连接组件固定在所述测量导管上,所述可转动伸缩杆为长方形伸缩杆,所述可转动伸缩杆的右端部位通过销轴与所述U型连接组件铰接,所述夹持弧形件固定在所述可转动伸缩杆的左端面,所述夹持弧形件上设有滚珠,若干个所述滚珠位于所述夹持弧形件的内侧表面上,所述滚珠可相对所述夹持弧形件滚动。
本实用新型中,所述可转动伸缩杆与所述测量导管水平中心线之间的距离大于所述法兰盘外侧表面与所述测量导管水平中心线之间的距离。
本实用新型中,所述U型连接组件的横向截面为U型形状。
本实用新型中,所述可转动伸缩杆可水平方向左右转动。
本实用新型中,两个所述定位装置均固定在所述电磁流量计主体左端面与右端面之间的中间部位。
本实用新型中,所述夹持弧形件为塑胶材质。
综上所述,本申请的有益效果:本申请装置在电磁流量计上设置定位装置,在安装时,采用定位装置,方便电磁流量计的悬空安装,提高工作效率,降低失误率。
 
附图说明
通过阅读参照以下附图所作的对非限制性实施例所作的详细描述,本申请的其它特征、目的和优点将会变得更明显:
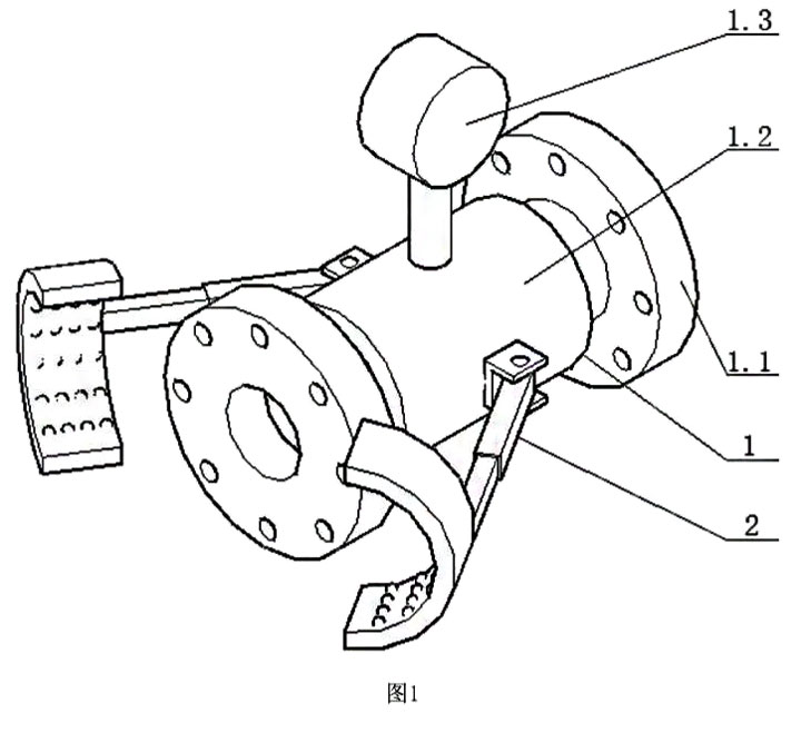
图1为本实用新型整体装置的立体结构示意图;
图2为本实用新型定位装置的立体结构示意图。
图中标号:电磁流量计主体-1;法兰盘-1.1;测量导管-1.2;转换器-1.3;定位装置-2;U型连接组件-2.1;可转动伸缩杆-2.2;夹持弧形件-2.3;滚珠-2.3.1。
 
具体实施方式
下面结合附图和实施例对本申请作进一步的详细说明。可以理解的是,此处所描述的具体实施例仅仅用于解释相关发明,而非对该发明的限定。另外还需要说明的是,为了便于描述,附图中仅示出了与发明相关的部分。
需要说明的是,在不冲突的情况下,本申请中的实施例及实施例中的特征可以相互组合。下面将参考附图并结合实施例来详细说明本申请。如图1所示,一种便于安装的电磁流量计,包括电磁流量计主体1,所述电磁流量计主体1包括法兰盘1.1、测量导管1.2和转换器1.3,所述测量导管1.2为水平横向放置管道,所述转换器1.3固定在所述测量导管1.2的上端面,两个所述法兰盘1.1分别位于所述测量导管1.2的左端面和右端面,还包括定位装置2,两个所述定位装置2分别固定在所述测量导管1.2的前端面和后端面。所述定位装置2主要用于所述电磁流量计主体1安装时使用。
如图2所示,所述定位装置2包括U型连接组件2.1、可转动伸缩杆2.2、夹持弧形件2.3,所述U型连接组件2.1固定在所述测量导管1.2上,所述可转动伸缩杆2.2为长方形伸缩杆,所述可转动伸缩杆2.2的右端部位通过销轴与所述U型连接组件2.1铰接,所述夹持弧形件2.3固定在所述可转动伸缩杆2.2的左端面,所述夹持弧形件2.3上设有滚珠2.3.1,若干个所述滚珠2.3.1位于所述夹持弧形件2.3的内侧表面上,所述滚珠2.3.1可相对所述夹持弧形件2.3滚动。
当所述电磁流量计主体1上的所述定位装置2不使用时,所述可转动伸缩杆2.3缩短,使得所述夹持弧形件2.3卡扣在所述测量导管1.2的外侧表面上,这样不影响所述电磁流量计主体1的存放。当所述电磁流量计主体1的左端部位需要安装时,将所述可转动伸缩杆2.3转动至与所述测量导管1.2具有一定角度,然后伸长所述可转动伸缩杆2.3,让所述夹持弧形件2.3卡扣在需要安装的管道上,然后微移所述电磁流量计主体1,使得所述法兰盘
1.1对准,并安装。
所述电磁流量计主体1微移时,可实现与连接管道之间距离长短的移动。由于所述滚珠2.3.1的存在,所以所述电磁流量计主体1可相对连接管道做转动,即更加利于所述法兰盘1.1上法兰孔的对准。
以上描述仅为本申请的较佳实施例以及对所运用技术原理等方案的说明。同时,本申请中所涉及的发明范围,并不限于上述技术特征的特定组合而成的技术方案,同时也应涵盖在不脱离所述发明构思的情况下,由上述技术特征或其等同特征进行任意组合而形成的其它技术方案。例如上述特征与本申请中公开的(但不限于)具有类似功能的技术特征进行互相替换而形成的技术方案。
 

上一条:远传型磁翻板液位计特点及结构原理
下一条:威力巴流量计运行试验及其应用


客户服务热线
15312307860

联系我们