固定电话:

0517-86881563

手机热线:

153-1230-7860

当前位置:首页 >> 新闻动态
实用新型的一种电磁流量计监测系统的发明应用
 
本实用新型是一种电磁流量计监测系统,属于检测设备领域。
 
发明背景
现有技术中,电磁流量计是随着电子技术的发展而迅速发展起来的基于法拉第电磁感应定理的用来测量导电性液体体积流量的仪表。它无可动部件,无阻碍被介质流动的节流部件,对被测流体的流动不产生附加压力损失,而仅有这管段的沿程阻力;测量有导电性的介质的流量,而不受其温度、勃度、密度、压力等物理参数的影响;无机械惯性,反映灵敏,可测瞬时脉动流量;直线性好,测量准确度高,测量范围宽,耐腐蚀性能强等等。因此在众多的流量仪表中,电磁流量计成为发展*快的流量仪表之一,但是现有的电磁流量传感器存在数据传输不及时的问题,所以需要一种电磁流量计监测系统来解决上述问题。
 
发明内容
针对现有技术存在的不足,本实用新型目的是提供一种电磁流量计监测系统,以解决上述背景技术中提出的问题,本实用新型使用方便,便于操作,稳定性好,可靠性高。
 
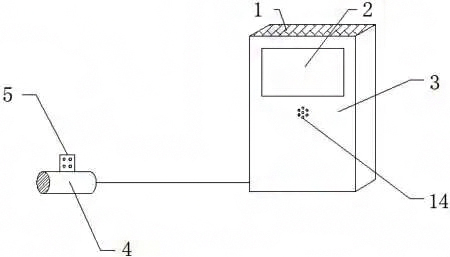
本实用新型的结构示意图
为了实现上述目的,本实用新型是通过如下的技术方案来实现:一种电磁流量计监测系统,包括监测系统结构部分以及检测系统,所述监测系统结构部分由太阳能电池板、触摸显示屏、控制柜、电磁流量传感器、固定板以及通孔组成,所述固定板装配在电磁流量传感器的上端,所述控制柜的上端面上装配有太阳能电池板,所述控制柜的前侧端面上固定有触摸显示屏,所述触摸显示屏的下端开设有通孔,所述检测系统由信号放大器、滤波器、单片机、存储器、继电器、无线通信模块、扬声器以及蓄电池组成,所述信号放大器、滤波器、单片机、存储器、继电器、无线通信模块、扬声器以及蓄电池位于控制柜的内部,所述电磁流量传感器与信号放大器单向电性连接,所述信号放大器与滤波器单向电性连接,所述滤波器与单片机单向电性连接,所述单片机与触摸显示屏双向电性连接,所述单片机与存储器双向电性连接,所述单片机与无线通信模块双向电性连接,所述单片机与继电器单向电性连接,所述继电器与扬声器单向电性连接,所述太阳能电池板与蓄电池单向电性连接。
 
进一步所述固定板上开设有便于安装的螺孔。开设在控制柜上的通孔呈环形进行排列,通孔的直径为1mm。分布在控制柜上端的太阳能电池板与控制柜之间通过螺栓进行固定。所述无线通信模块为4G通信模块。所述扬声器安装在控制柜的内部且具体安装在开设通孔的位置。
 
本实用新型的有益效果:本实用新型的一种电磁流量计监测系统,通过添加固定板来实现对电磁流量传感器的固定,该设计解决了传统电磁流量传感器安装时费时费力的问题,而触摸显示屏的设计则将操作按钮与显示屏的功能结合到一起,进而达到了一体化设计的要求。另外存储器的设计则实现对电磁流量传感器检测数据的保存,进而便于工作人员以后进行数据的查找。而无线通信模块的设计则实现了现代社会物联网发展的需要,进而便于工作人员远距离的进行数据的监测,该设计减少了工厂的人力成本投入,本实用新型电磁流量计监测系统使用方便,便于操作,监测效果好,可靠性高。

上一条:介质电导率变化对电磁流量计测量的影响
下一条:污水型电磁流量计在测量时如何正确的排除故障


客户服务热线
15312307860

联系我们