电磁流量计传感器电极结构背景技术
电磁流量计,是利用电磁感应现象将在测量管内流动的具有导电性的被测流体的流量转换为电信号进行测量的装置
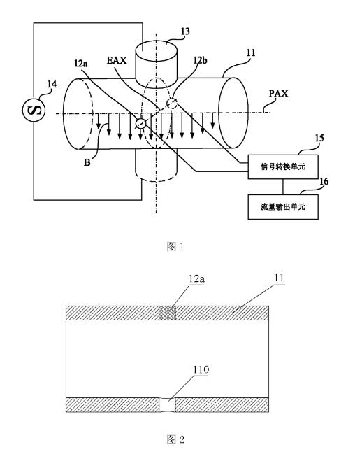
图1显示了现有技术中的一种电磁流量计的结构。如图1所示,所述电磁流量计包括:流动有被測流体的测量管11,和与被测流体相接触且对向配置在测量管11上的电极12a、12b,向被测流体施加磁场的励磁线圈13,向励磁线圈13供给励磁电流、使其产生磁场的电源单元14。另外,所述电磁流量计还包括:与电极12a、12b连接用于检测电极12a、l2b之间的感应电动势的信号转换单元15,从由信号转换单元15检测出的电极间电动势计算出被测流体的流量的流量输出单元16应用所述电磁流量计,当流体在测量管11中穿过由励磁线圈13产生的磁场流动时,根据法拉第定律,就会在电极12a、12b上产生感应电动势,流体的平均流速与电极处感应出的电压之间具有线性关系,这一关系可以用下述公式表示:E=K*B*举V,其中E为所产生的感应电压,K为比例常数,B为磁场强度,D为导管直径,而V为传导型流体的平均流速这样,利用信号转换单元15和流量输出单元16,即可测得与所述感应电动势对应的流体的流速,进而获得流体的流量陶瓷管电磁流量计传感器有很多优点,但电极密封是一个很大难题。图2为图1中沿着与励磁线圈13产生的磁场相垂直的平面用以显示电极布置的剖示图。如图2,测量管11设有电极插孔110,所述电极插孔110为圆柱形或圆锥形,其厚度大致与测量管11的壁厚相当,电极(在这里仅标示出电极12a)内嵌于测量管11的电极插孔110中。然而,图2所示中的电极,只有少数厂家具备特殊的烧结技术,在高温高压环境下制作出电极以确保电极不渗漏,实现难度极大。而采用0型圈等机械装配密封,由于陶瓷材料表面一定厚度会变湖,使用时间一长,绝缘性就会下降,影响测量精度
电磁流量计传感器电极结构具体实施方式
鉴于现有的陶瓷测量管电磁流量计提供的是厚度与陶瓷测量管壁厚相当的圆柱形或圆锥形的电极插孔,致使电极结构存在制作工艺难度高、易出现电极渗漏等诸多问题。
因此,本实用新型的发明人创造性地对现有陶瓷测量管电磁流量计作了改进,提供一种新型的电磁流量计传感器的电极结构,主要是在陶瓷测量管的相对两端对向配置了呈凸台状的一对电极插孔(所述电极插孔的深度要大于所述陶瓷测量管的管壁厚度),在所述电极插孔内设置电极,如此,可以使得电极与陶瓷测量管之间紧密结合,避免陶瓷测量管的流体沿着电极和测量管之间的细小缝隙渗漏,皃服电极渗漏的问题
以下将通过具体实施例来对本实用新型的电磁流量计传感器的电极结构进行详细讲述。

具体实施例:
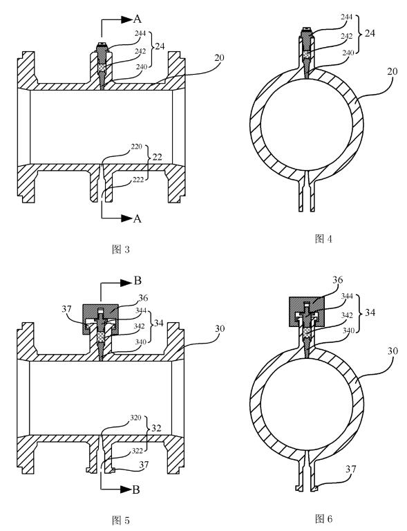
请参阅图3和图4,其中,图3显示了本实用新型的电磁流量计传感器在实施例中沿着径向的截剖图图4为图3沿着A-A所作的截剖图。
结合图3和图4,所述电磁流量计传感器包括:流动有被测流体的陶瓷測量管20于陶瓷测刂量管20的两个端面处、作为密封用的法兰;对向配置在陶瓷测量管20沿着管径的相对两端、外凸于所述陶瓷测量管呈凸台状的一对电极插孔22;与电极插孔22配合装配至陶瓷測量管20上的电极构件24陶瓷测量管20具有密封端面结构,所述密封面可以根据工况而制成夹持式、法兰式等连接形式及密封面形式,在实际应用中,陶瓷测量管20与所述密封端面是由陶瓷一体烧结而成的。具体地,陶瓷测量管20可以是由含量为95%至99%的高纯度氧化铝(即化二铝,Al202)陶瓷颗粒在高压高温下经一次烧结成毛坯,由于这时硬度还不是很高便于精加工成所述形状,再经过高压高温二次烧结而制作出具有高致密度高强度的陶瓷量管结构件,当然,在其他情况下,陶瓷测量管20也可以由其他陶瓷类材质如氧化锆、碳化硅等烧结而成。
特别地,在本实用新型的电磁流量计传感器中,对向配置在陶瓷测量管20相对两端的一对电极插孔22外凸于所述陶瓷测量管呈凸台状。相对于电极插孔的深度与陶瓷测量管的管壁厚度相当(相近或相等)的现有技术,本实施例中的电极插孔22的深度要远大于(2倍以上)陶瓷測量管20的管壁厚度。具体地,电极插孔22为内缩外扩的沉孔结构,包括指向陶瓷测量管20内壁面的**插孔区段220以及与**插孔区段220相连、指向陶瓷测量管20外壁面的第二插孔区段222。其中,**插孔区段220中远离第二插孔区段222的那一个端面是与陶瓷测量管20内壁面相齐平。**插孔区段220呈圆柱状或圆锥状(呈内窄外宽);第二插孔区段222呈圆柱形或圆锥形(呈内窄外宽);第二插孔区段222和第插孔区段220的连接面呈平面或圆锥面,较佳地,呈圆锥面。针对电极插孔22的制作,在一个实施例中,可以是在陶瓷测量管20的烧结工艺前预留有与电极插孔22对应的结构从而在烧结工艺后形成,例如采用了与待形成的电极插孔对应的模具并在烧结工艺后去除所述模具从而形成电极插孔22:或者,在另一实施例
中,也可以是在经过烧结工艺后的陶瓷测量管20上再进行例如开凿等后续加工工艺而形成电极插孔22。实际上,只要能制作出具有电极插孔的陶瓷管,其具体制作工艺并不限于上述的描述,仍可以有其他的变化,故在此不再赘述。
上一条:
低频方波励磁的电磁流量计在测量浆液中的表现
下一条:
具有快速响应的电磁流量计高低压励磁系统