1.陀螺式电极智能电磁流量计,其特征在于包含传感器筒体(2)、主机(1)、电极(3),主机设置在传感器筒体上,传感器为筒状结构,电极为陀螺式结构,并有电极杆,电极杆上设有螺纹,电极布置在传感器筒体内,电极杄与传慼器筒体之间通过螺纹连接
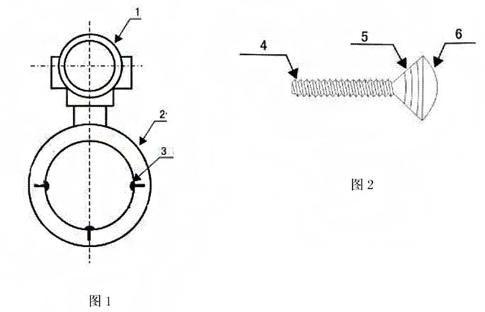
2.陀螺式电极智能电磁流量计,其特征在于所说的电极包含电极杆(4)、电极托台(5)、接液面(6),电极托台与接液面一起构成陀螺结构,电极托台与电极杆连为一体。
3.陀螺式电极智能电磁流量计,其特征在于电极杆上的螺纹旋进传感器筒体内的内衬材料里。
4.陀螺式电极智能电磁流量计,其特征在于电极托台的形状为锥型,电极托台外缘与电极杆中心线成45°角,与接液面一起构成陀螺结构
5.陀螺式电极智能电磁流量计,其特征在于电极托台上设有若干道防水线。
陀螺式电极智能电磁流量计
所属技术领域:陀螺式电极智能电磁流量计,属于测量管道内液体流量的智能电磁流量计技术领域
应用背景:
目前,智能电磁流量计在液体的流量测量中得到**应用,一般组成包括主机、传感器、电极,电极布置在传感器筒体内,常用的智能电磁流量计电极的形状主要有方形和圆形的等,在使用中由于密封性能不好,很容易出现向筒体内漏水等现象,同时现场使用中经常遇到管道振动等情况,此时电极容易松动,造成漏水、信号差、无法使用等情况:而且一旦出现上述情况,维护起来很困难,只能是停产维修
应用内容:
本实用新型目的是提供一种陀螺式电极智能电磁流量计,防水性能好,电极安装牢固,解决背景技术中存在的上述问题。
本实用新型的技术方案是:陀螺式电极智能电磁流量计包含传感器筒体、主机、电极,主机设置在传感器筒体上,传感器为筒状结构,电极为陀螺式结构,并有电极杆,电极杆上设有螺纹,电极布置在传慼器筒体内,电极杄与传感器筒体之间通过螺纹连接所说的电极包含电极杆、电极托台、接液面,电极托台与接液面一起构成陀螺结构,电极托台与电极杄连为一体;接液面是电极与被测液体接触面电极杆上的螺纹可以旋进传感器筒体内的内衬材料里,电极杆的长度尽量长一些电极托台的形状为锥型,电极托台外缘与电极杆中心线成45°角,与接液面一起构成陀螺结构。
电极托台上设有若干道防水线,设置防水线是为了让内衬材料挤进其中,能更好的起到密封作用,防止通过电极向筒体内漏水造成信号差、无法正常使用等情况。
本实用新型的有益效果是:陀螺式电极专门为了防止漏水而设计的,电极本身具有一个长的电极杆,电极杆上的螺纹可以旋进传感器筒体内的内衬材料里,一是很牢固的固定电极,使电极不会因为管道的振动而松动;二是使电极杆和内衬可以充分的接触防止电极处漏水;电极托台的形状为锥型,为了使电极和内衬充分的接触,从而防止电极漏水电极托台上设有若干道防水线,设置防水线是为了让内衬材料挤进其中,能更好的起到密封作用,防止通过电极向筒体内漏水造成信号差、无法正常使用等情况。
附图说明
附图1是本实用新型实施例的示意图;

附图2是本实用新型的电极结构示意图;
图中:主机1、传感器筒体2、电极3、电极杆4、电极托台5、接液面6。
具体实施方式
以下结合附图,通过实施例对本实用新型作进一步说明
在实施例中,陀螺式电极智能电磁流量计包含传感器筒体2、主机1、电极3,主机设置在传感器筒体上,传感器为筒状结构,电极为陀螺式结构,并有电极杆4,电极杆上设有螺纹,电极布置在传感器筒体内,电极杄与传感器筒体之间通过螺纹连接。电极包含电极杆4、电极托台5、接液面6,电极托台与接液面一起构成陀螺结构,电极托台与电极杆连为体;接液面是电极与被测液体接触面。电极杆上的螺纹旋进传感器筒体內的内衬材料里,电极杆的长度尽量长一些。电极托台的形状为锥型,电极托台外缘与电极杆中心线成45°角,与接液面一起构成陀螺结构。
实施例中,电极杆上设有长18mm的螺纹,为了增加密封性,电极托台上有三道防水线。具体安装方式:首先将电极杆4从传感器筒体2的内侧直接旋进内衬里,当筒体外侧露出电极杆4后,将电极杆4上装一个0型胶圈,上面再装一小块绝缘板,加好绝缘板后,将电极杆4上接好线以供使用,*后上面用螺丝校紧,直到接液面6的边缘和内衬很好的结合为止。将电极3安装好以后,再将线圈以固定的方式安装好,将线引出与主机1接好,*后将主机固定。
上一条:
电磁流量计在纤维素浸渍工艺中应用及常见故障
下一条:
浆液型电磁流量计在四喷嘴水煤浆气化中的应用