分体式电磁流量计是电磁流量计普遍应用的形式,传感器接入管道,转换器装在仪表室或人们易于接近的传感器附近,相距数十到数百米。为防止外界噪声侵入,信号电缆通常采用双芯屏蔽线。测量电导率较低液体而相聚超过30m时,为防止电缆部分电容造成信号衰减,内层屏蔽也有要求接上与芯线同电位低阻抗源的屏蔽驱动。分体型电磁流量计的转换器可远离现场恶劣环境,电子部件检査、调整和参数设定就比较方便。但是,目前普遍使用的分体式电磁流量计使用寿命短,抗干扰能力弱,不智能化,测量不稳定,耗能高,精度低。
分体式电磁流量计,其组成包括:传感器,所述的传感器与智能表头、衬里连接,所述的衬里与接地环连接。
分体式电磁流量计,所述的传感器两端用螺栓、螺母、垫圈、弹簧垫圈、绝缘衬套固定安装在被测管道上,所述的被测管道之间、所述的传感器与被测管道之间、传感器与接地环之间用连接导线连接,所述的连接导线与测量接地导线连接。分体式电磁流量计,所述的接地环与所述的被测管道间垫有绝缘密封垫。
分体式电磁流量计的安装方法,该方法包括如下步骤:
(1)传感器应有良好的单独接地线,接地电阻<10欧,在连接传感器的管道内若涂有绝缘层或是非金属管道时,传感器两侧还应加装接地环,接地环要装在传感器的两端面上,接地环必须与工艺管道的法兰绝缘,通过接地线与传感器相连,接地环的材质应能耐介质的腐蚀;
(2)仪表两侧工艺管的法兰应该用截面积为4mm2的铜导线绕过传感器相连,使阴极保护电位与传感器之间隔离,不要连接到传感器上去
(3)法兰连接螺栓必须与工艺管道的法兰绝缘,用户必须自备绝缘材料制造的衬套和垫圈;
(4)流体流向必须与传感器表面上的流向箭头保持一致。
其有益效果:
1、测量不受流体密度、粘度、温度、压力和电导率变化的影响,测量管内无阻碍流动部件,无压损,直管段要求较低
2、系列公称通径DN15~DN3000。采用聚四氟乙烯或橡胶材质衬里和lC、IB、316L、Ti等电极材料的不同组合可适应不同介质的需要;
3、转换器采用新颖励磁方式,功耗低、零点稳定、***度高,流量范围度可达1500:1转换器可与传感器组成一体型或分离型,采用16位高性能微处理器,2x16LCD显示,参数设定方便,编程可靠,换器采用表面安装技术(SMT),具有自检和自诊断功能;
4、仪表结构简单、可靠、无可动部件,工作寿命长;
5、无截流阻流部件,不存在压力损失和流体堵塞现象,无机械惯性,响应快速,稳定性好,可应用于自动检测、调节和程控系统,测量精度不受被测介质的种类及其温度、粘度、密度、压力等物理理参数的影响;
6、采用 EEPROM存贮器,测量运算数据存贮保护可靠安全,高清晰LCD背光显示。
附图说明:
附图1是本发明的结构示意图。

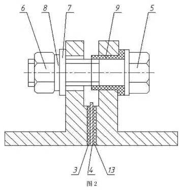
附图2是本发明安装示意图。

具体实施方式:
实施例1
分体式电磁流量计,其组成包括:传感器1,所述的传感器与智能表头2、衬里3连接,所述的衬里与接地环4连接。
实施例2
根据实施例1所述的分体式电磁流量计,所述的传感器两端用螺栓5、螺母6、垫圈7、弹簧垫圈8、绝缘衬套9固定安装在被测管道10上,所述的被测管道之间、所述的传感器与被测管道之间、传感器与接地环之间用连接导线11连接,所述的连接导线与测量接地导线连12接。
实施例3
根据实施例1或2所述的分体式电磁流量计,所述的接地环与所述的被测管道间垫有绝缘密封垫13。
实施例4
分体式电磁流量计的安装方法,该方法包括如下步骤:
(1)传感器应有良好的单独接地线,接地电阻<10Ω,在连接传慼器的管道内若涂有绝缘层或是非金属管道时,传感器两侧还应加装接地环,接地环要装在传感器的两端面上,接地环须与工艺管道的法兰绝缘,通过接地线与传感器相连,接地环的材质应能耐介质的腐蚀;
(2)仪表两侧工艺管的法兰应该用截面积为4mm2的铜导线绕过传感器相连,使阴极保护电位与传感器之间隔离,须要注意,不要连接到传感器上去
(3)法兰连接螺栓须与工艺管道的法兰绝缘,用户必须自备绝缘材料制造的衬套和垫圈;
(4)流体流向须与传感器表面上的流向箭头保持一致。
上一条:
分析电磁流量计易受到干扰的原因及排除方法
下一条:
煤浆流量测量中电磁流量计应用故障原因分析