本新型是一种可防表头过度旋转的流量计,所述联接头上设有凹槽,在所述回槽内设有密封圈。上述可防表头过度旋转的流量计,通过在传感器座上设置防转动片,在表头联接座上设置与防转动片相对应的防转动轴,当转动表头时,表头联接座跟随表头一起转动,从而带动防转动轴转动,当防转动轴转动到与防转动片相接触位置时,防转动片阻止防转动轴继续转动,表头也因此不能继续转动,从而保护了测量组件内电线与表头的连接关系,提高了流量计的稳定性和使用寿命。
附图说明
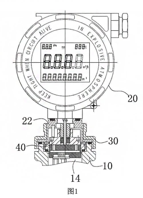
图1是本可防表头过度旋转的流量计结构示意图。
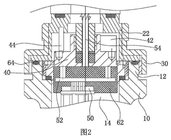
图2是本可防表头过度旋转的流量计局部放大图。
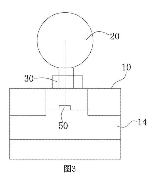
图3是本可防表头过度旋转的流量计连接关系示意图。

图中各个标号统一说明如下:10、壳体:12、联接头:14、流体通道:20、表头22、表头联接座:30、联接盖:40、传感器座:42、防转动片:44、防转动轴:50、差压传感器52、电路板:54、通孔:62、密封胶:64、密封圈。
具体实施方式
下面将结合附图及实施例对本新型的可防表头过度旋转的流量计作进一步的详细说明
请参见图1、图3,本实施例的一种可防表头过度旋转的流量计,包括表头20和壳体10,表头20与売体10通过联接盖30连接,壳体10内设有流体通道14,在流体通道14内设有差压传感器50,差压传感器50通过电线与表头20连接,差压传感器50将数据信号通过电线传输至表头20内,通过表头内安装的数据处理单元和显示单元分别将传感器输送过来的信号进行处理和显示。
参见图2,还包括固定连接表头20的表头联接座22、联接盖30、传感器座40和联接头12,壳体10内设有流体通道14,壳体10上设有与流体通道14相通的连接口,联接头12为连接口边缘向外延伸的一圏凸起,传感器座40为法兰结构并设于联接头12内,表头联接座22为盖结构并倒扣设于联接头12和传感器座40上方,表头联接座22与联接头12的外表面分别设有外螺纹,联接盖30设有与外螺相对应的内螺纹,联接盖30分别与表头联接座22和联接头12螺纹连接,并使表头联接座22与联接头12紧密连接,在传感器座40上固定设有防转动片42,在表头联接座22内固定设有与防转动片42相对应的防转动轴44,还包括电路板52和与电路板52电性连接的差压传感器50,差压传感器50设于流体通道14内,电路板52设于差压传感器50上方并固定连接在传感器座40下方,传感器座40中央设有通孔54,电路板52上设有电线接头并连接有电线,电路板52通过电线穿过通孔54与表头20连接。
通过在传感器座上设置防转动片42,在表头联接座22上设置与防转动片42相对应的防转动轴4,当转动表头20时,表头联接座22眼随表头20一起转动,从而带动防转动轴44转动,当防转动轴转44动到与防转动片42相接触位置时,防转动片42阻止防转动轴44继续转动,表头20也因此不能继续转动,从而保护了测量组件内电线与表头20的连接关系,提高了流量计的稳定性和使用寿命。
设置的防转动片42,可以是竖直固定设于传感器座40上的挡片结构,防转动轴44可以为柱体结构或与其类似的杆状体结构,其一端与表头联接座22固定,另一端与防转动片42接触,当旋转表头时,防转动轴44与防转动片42分离,当旋转一定角度至防转动轴与防转动片另一面相接触时,表头20与连接头12相互旋转的角度小于360度,因此,无论旋转表头20多少次,均不会使壳体内电线过度扭转。
在壳体10内,壳体10与表头联接座22通过联接盖30连接在一起,安装时,先将传感器座40安装在连接口内固定,在传感器座40、电路板52和差压传感器50之间填充有密封胶62,通过密封胶62,使差压传感器50、电路板52、传感器座40三者固定连接:在联接头12上设有回槽,在四槽内设有密封圈64,在将表头联接座22倒扣安装在传感器座和连接头12上,密封圏64使联接头与表头联接座22密封性能更好,表头联接座22与联接头12为同直径大小,后旋转联接盖30将表头联接座22通过联接盖30连接在一起。
本流量计具有可防止表头过度旋转而破坏壳体内部线路的优点,设计结构巧妙,结构简单,便于安装,提高了流量计的稳定性和使用寿命。
上一条:
在什么情况下采用两对电极的电磁流量计
下一条:
电磁流量计工作原理演示