固定电话:

0517-86881563

手机热线:

153-1230-7860

当前位置:首页 >> 新闻动态
一种电磁流量计磨损板报警装置及安装工艺
技术领域
本发明涉及一种电磁流量计,特别涉及一种电磁流量计磨损板报警装置及安装工
 
背景技术
当今工业现场中使用着大量的电磁流量计,这些流量计在使用过程中衬里的磨损状況是无法了解的,只有流量计出现故障不工作时才发现衬里被磨损了。此时常常会造成整个系统不能正常运转。因此提前知晓电磁流量计衬里的磨损状态成为电磁流量计安全使用的关键。
 
发明内容
本发明的目的是提供了一种电磁流量计磨损板报警装置及安装工艺,该装置在电磁流量计树里磨损到临界厚度时可发出报警,以避免流量计突然失效造成人员和财产的损失。
本发明为实现上述目的,所采用的技术方案是:一种电磁流量计磨损板报警装置,包括电磁流量计的导管,其特征在于:还包括绝缘支柱、绝缘螺母、内衬筋板、连接板、出线螺栓、耐高温导线、金属螺纹柱、焊片、树脂胶及报警电路,所述内衬筋板为带有一缺口的环状板;所述连接板为条状板,在条状板上固定数个绝缘柱和绝缘螺母;在间距设置的两个内衬筋板上搭接数根连接板通过绝缘柱和绝缘螺母固定在一起,在一个内衬筋板和一个连接板之间设置一个焊片,在每个绝缘柱上连接一个金属螺纹柱,以上结构构成传感器;所述电磁流量计的导管内嵌入传感器,传感器上的数个金属螺纹柱与电磁流量计导管内壁固定在一起,所述耐高温导线的一端与焊片连接,耐高温导线的另一端穿过电磁流量计导管上设有的绝缘线螺栓与接线盒内设有的报警电路连接,在电磁流量计导管的内壁上设有一层树脂胶,传感器封装在树脂胶内。
 
一种电磁流量计磨损板报警装置安装工艺,其特征在于:步骤如下
①、将数个金属螺纹柱用螺纹焊机焊接到电磁流量计导管内壁上
②、将清洗干净的数个绝缘支柱分别拧到每个金属螺纹柱上
③、将两个环状内衬筋板通过其筋板上开有的数个通孔分别放到电磁流量计导管内壁两端固定的一圈数个绝缘支柱上,将数个连接板通过其条板上开有的数个通孔轴向放置在电磁流量计导管内壁内固定的数个绝缘支柱上,数个连接板两端与两个环状内衬筋板搭接在一起,同时在靠近电磁流量计导管上固定的出线螺栓一端的内衬筋板和连接板搭接处之间,放置一个焊有耐高温导线的焊片;
④、将清洗干净的数个绝缘螺母分别拧到每个绝缘支柱上,将内衬筋板和连接板压紧;
⑤、将耐高温导线穿过出线螺栓与接线盒内设有的报警电路中的线性放大器UA和UB的同相输入端连接;
⑥、将衬胶模具从完成上述装配的电磁流量计的导管一端穿入导管内,在电磁流量计导管另一端放上压圈,将聚氨酯树脂胶沿倒料口导入导管内至压圈平面,再装上上盖
⑦、将倒入聚氨酯树脂胶的电磁流量计导管放入110℃的硫化罐中进行硫化,10小时后,撤掉衬胶模具继续硫化24小时后完成衬胶。
本发明的效果是:在电磁流量计衬里磨损到临界厚度时发出报警以避免流量计突然失效造成人员和财产的损失。
 
附图说明
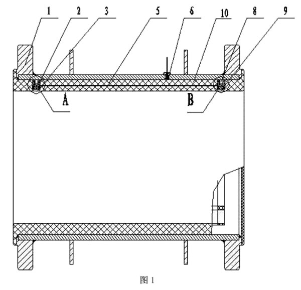
图1为本发明结构示意图。
图2为图1的A处放大图。
图3为图1的B处放大图。
图4为本发明衬胶前结构示意图。
图5为图4的C-C剖视图。
图6为本发明衬胶被磨损后的结构示意图。
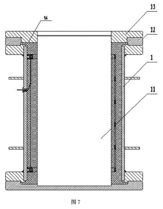
图7为本发明衬胶过程结构示意图。
图8为本发明报警电路原理图。

 
具体实施方式
如图1、2、3、4、5、8所示:一种电磁流量计磨损板报警装置,包括电磁流量计的导管1还包括绝缘支柱2、绝缘螺母3、内衬筋板4、连接板5、出线螺栓6、耐高温导线7、金属螺纹柱8、焊片9、树脂胶10及报警电路,内衬筋板4为带有一缺口4-1的环状板:连接板5为条状板,在条状板5上固定数个绝缘柱2和绝缘螺母3:在间距设置的两个内衬筋板4上搭接数根连接板5通过绝缘柱2和绝缘螺母3固定在一起,在一个内衬筋板4和一个连接板5之间设置一个焊片9,在每个绝缘柱2上连接一个金属螺纹柱8,以上结构构成传感器电磁流量计的导管1内嵌入传感器,传感器上的数个金属螺纹柱8与电磁流量计导管1内
壁固定在一起,耐高温导线7的一端与焊片9连接,耐高温导线7的另一端穿过电磁流量计导管1上设有的绝缘线螺栓6与接线盒内设有的报警电路连接,在电磁流量计导管1的内壁上设有一层树脂胶10,传感器封装在树脂胶10内。
一种电磁流量计磨损板报警装置安装工艺,步骤如下:
①、将数个金属螺纹柱8用螺纹焊机焊接到电磁流量计导管1内壁上;
②)、将清洗干净的数个绝缘支柱2分别拧到每个金属螺纹柱8上;
③、将两个环状内衬筋板4通过其筋板上开有的数个通孔分别放到电磁流量计导管1内壁两端固定的一圏数个绝缘支柱2上,将数个连接板5通过其条板上开有的数个通孔轴向放置在电磁流量计导管1内壁内固定的数个绝缘支柱2上,数个连接板5两端与两个环状内衬筋板4搭接在一起,同时在靠近电磁流量计导管1上固定的出线螺栓6一端的内衬筋板4和连接板5搭接处之间,放置一个焊有耐高温导线7的焊片9;
、将清洗干净的数个绝缘螺母3分别拧到每个绝缘支柱2上,将内衬筋板4和连接板5压紧;
⑤、将耐高温导线7穿过出线螺栓6与接线盒内设有的报警电路中的线性放大器UA和UB的同相输入端连接;
⑥、将衬胶模具11从完成上述装配的电磁流量计的导管1一端穿入导管1内,在电磁流量计导管1另一端放上压圏12,将聚氨酯树脂胶10沿倒料口14导入导管内至压圏12平面,再装上上盖13;
⑦、将倒入聚氨酯树脂胶10的电磁流量计导管1放入110℃的硫化罐中进行硫化,10小时后,撤掉衬胶模具11继续硫化24小时后完成衬胶。
传感器是用80.5mm厚304不锈钢板制成的网状传感器。报警电路是由比较器、继电器组成,采用继电器输出。耐高温导线为AF-200聚全氟乙丙烯绝缘电缆。
工作原理:当电磁流量计正常工作时,传感器对测量导管(地)的绝缘电阻≥200M2,大大的大于电阻R3,比较器不工作,所以此时没有电流通过,继电器处于常开状态。当树里被磨损到传感器时,如图6所示,传感器通过被测介质与地导通,此时传感器对测量管(地)的绝缘电阻即是被测介质的阻值,通常只有十几K2,与电阻R3分压后使比较器翻转,电路中有电流通过,此时继电器闭合,输出报警信号。而此时电磁流量计的计量功能并未损坏,仍能正常工作以保证系统正常运转。
 

上一条:电磁流量计测井技术探讨
下一条:用于电磁流量计电极的保护套结构


客户服务热线
15312307860

联系我们