固定电话:

0517-86881563

手机热线:

153-1230-7860

当前位置:首页 >> 新闻动态
用于电磁流量计电极的保护套结构
技术领域
本实用新型涉及一种用于电磁流量计的电极的保护套以及包括配置了该保护套的电极的电磁流量计。
 
背景技术
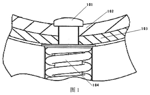
电磁流量计是一种根据法拉第电磁感应定律来测量测量管内导电介质体积流量的感应式仪表。电磁流量计中设置有电极,电极具有电极头。图1为现有的电磁流量计的部分结构的截面图。如图1所示,电磁流量计中布置有内衬102、测量管的管壁103、用于支撑电极的支撑弹簧104以及电极的电极头101,等等。在图1中,电极的电极头101以裸露的方式布置。
由于在现有的电磁流量计中都以裸露的方式布置电极头,所以电极头承受液体介质的长时间冲刷,容易磨损。而且,电极头直接承受液体介质的冲击所产生的应力(尤其是在大流速的情况下),水垢等杂质容易在电极头表面附着,从而影响电极的测量环境,降低测量稳定性。另外,因为要考虑到电极头表面受到的液体的挤压力,所以要选择耐磨等级较高的电极材料,从而导致较高的成本。
 
实用新型內容
本实用新型的目的是提供一种用于电磁流量计的电极的保护套以及包括配置了该保护套的电极的电磁流量计,以解决现有技术中存在的上述问题。
本实用新型的一个方面提供一种用于电磁流量计的电极的保护套,其中,保护套围绕电极的电极头形成坡面;以及,保护套的顶部不高于电极头的顶部。
根据另一个实施例,保护套的底部与内衬相接触。
根据又一个实施例,保护套的外轮廓为圆台形状。
根据又一个实施例,保护套的外轮廓为棱锥台形状。
根据又一个实施例,保护套的外轮廓形状根据电极头的外轮廓形状而改变。
根据又一个实施例,保护套的材料与测量管的内衬的材料兼容或相同。
根据又一个实施例,保护套与测量管的内衬为一体成型
根据又ー个实施例,保护套具有下凸部,下凸部用于将保护套固定到内衬中。
本实用新型的另一个方面提供一种电磁流量计,其中,该电磁流量计包括电极以及上述的任意一个保护套。
应用本实用新型,通过保护套改变液体介质的流向,由于保护套首先受到液体介质的磨损,所以极大地降低了电极头所承受的应力,延长了电极头的使用寿命。并且,以保护套的形式保护电极头,杂质不容易在电极头表面附着,从而改善了电极的测量环境,提高了测量稳定性。另外,由于电极头表面受到的液体介质的挤压力降低,所以可以选择耐磨等级较低的电极材料,从而降低成本。
 
附图说明
参照下面结合附图对本实用新型的实施例的说明,会更加容易地理解本实用新型的以上和其它目的、特点和优点。在附图中,相同的或对应的技术特征或部件将采用相同或对应的附图标记来表示。在附图中不必依照比例绘制出单元的尺寸和相对位置。
图1是示意性示出现有的电磁流量计的部分结构的截面图。
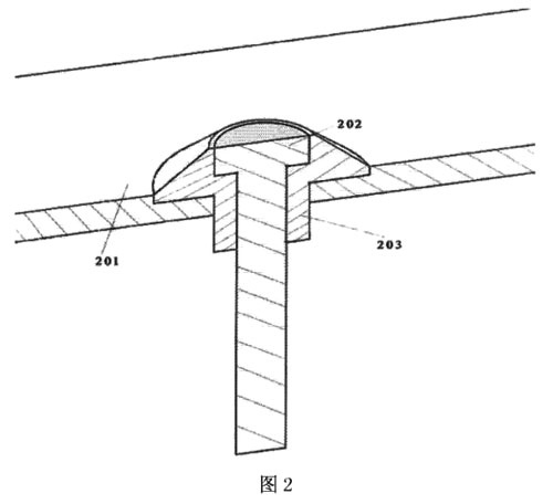
图2是示意性示出根据本实用新型实施例的电磁流量计的部分结构的截面图。
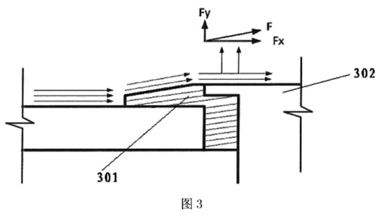
图3是示意性示出根据本实用新型实施例的保护套受到流动的液体介质的挤压力的示意图。

 
具体实施方式
下面参照附图来说明本实用新型的实施例。应当注意,为了清楚的目的,附图和说明中省略了与本实用新型无关的、本领域技术人员已知的部件和处理的表示和描述。
图2是示意性示出根据本实用新型实施例的电磁流量计的部分结构的截面图。
如图2中所示,电磁流量计包括测量管的内衬201、电极的电极头202以及保护套203。保护套203围绕电极头202形成坡面。保护套203的顶部不高于电极头202的顶部。由于该截面图是放大后的示意图,因此内衬201的轮廓显示为平面,但是实际上,内衬201的轮廓为如图1中的内衬102所显示的曲面轮廓。
在图2中,保护套203是围绕电极头202而加装的(与不同尺寸的电磁流量计匹配即可)。保护套203的底部与内衬201相接触。保护套203还具有下凸部,该下凸部用于将保护套203固定到内衬201上。可选择地,可以通过任意其它方式来固定保护套203。
在图2中,保护套203的外轮廓为圆台形状。可选择地,保护套203的外轮廓可以为棱锥台形状。保护套203的外轮廓形状可以根据电极头的外轮廓形状而改变。
保护套203的材料与内衬201的材料可以兼容或相同,在该情况下,保护套203可以与内衬201一体成型。可选择地,保护套203的材料可以与内衬201的材料不兼容或不相同。
图3是示意性示出根据本实用新型实施例的保护套受到流动的液体介质的挤压力的示意图。
通过液体介质流过由保护套301形成的坡面进行导流,可以产生一个与坡面平行的力F,这个力可以分解为水平方向的力Fx和垂直方向的力Fy,与液体介质的流向垂直的力Fy可以减少电极头302表面所承受的压力,从而减少电极头的磨损。坡面的倾斜角越大,垂直向上的力Fy也越大。但是,应该注意,坡面的倾斜角不能设置的过大,以免产生扰流,即,坡面的倾斜角的设置不要对液体介质的流速产生影响。通常,为了确保坡面的倾斜角度,保护套的顶部不高于电极头的顶部。
应用根据本实用新型的实施例的用于电磁流量计的电极的保护套以及包括配置该保护套的电极的电磁流量计,通过保护套改变液体介质的流向,由于保护套首先受到液体介质的磨损,所以极大地降低了电极头所承受的应力,延长了电极头的使用寿命。并且,以保护套的形式保护电极头,杂质不容易在电极头表面附着,从而改善了电极的测量环境,提高了测量稳定性。另外,由于电极头表面受到的液体介质的挤压力降低,所以可以选择耐磨等级较低的电极材料,从而降低成本。
 

上一条:一种电磁流量计磨损板报警装置及安装工艺
下一条:一种电磁流量计的无衬里测量头的技术


客户服务热线
15312307860

联系我们