固定电话:
0517-86881563
手机热线:
153-5866-7860
首页
关于我们
产品博览
新闻动态
典型案例
行业新闻
联系我们
当前位置:
创辉仪表
>
新闻动态
>
流量仪表系列
电磁流量计
涡街流量计
涡轮流量计
超声波流量计
孔板流量计
转子流量计
质量流量计
旋进旋涡流量计
巴类流量计
液体流量计
油流量计
酸流量计
气体流量计
其它流量计
物位仪表系列
磁翻板液位计
超声波液位计
雷达物位计
浮球液位开关
变送器仪表系列
压力变送器
差压变送器
液位变送器
温度变送器
V型内锥式流量计的工作原理及特点
2020-03-04
从分类学上讲, V型内锥式流量计 和 孔板流量计 都属于差压式流量计,遵守能量守恒定律。孔板属于中心突然收缩式流量计,V型内锥则属于边缘逐渐收缩式。其结构示意图如图1、图2所示。 从图1中可以看出,当流体流过孔板时会形成流体的局部收缩...
油罐物位应用雷达液位计的测量
2020-03-03
1.概述 目前市场常见的 雷达物位计 采用的调制技术主要有微波脉冲行程和FMCW(调频连续波)两种。 2.长庆油田应用情况分析 雷达液位计 在长庆油田主要用于联合站、输油站等中间站的5000m3以上储罐,由于中间站内的油罐属于缓冲罐,罐位的测量不做...
一种钻井泥浆储罐液位报警装置
2020-03-02
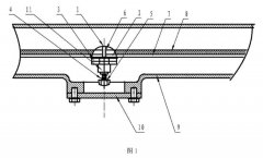
油田钻井作业的过程中对于井漏、井涌等地层的情况反应还处于一个比较原始的阶段一主要靠人工来坐岗记录,其准确性差,实时性不足,在井漏或井涌时,不能及时做出警告而采取措施,严重威胁钻井的顺利进行。 发明内容 本实用新型的目的就是针...
靶式流量计的应用特点及工作原理
2020-02-26
一、 靶式流量计 种类及适用领域 数显靶式流量计是在传统靶式流量计测量原理的基础上,充分利用其特点,结合新型传感器技术和现代数字技术上研制、开发而成的全新型数显靶式流量计,它既具有传统靶式、孔板、涡街等流量计无可动部件的特点...
智能型外置式超声波液位计产品特点工作原理
2020-02-23
1. 超声波液位计 产品特点 智能型外置式超声波液位计、采用了先进的信号处理技术及高速信号处理芯片,突破了容器壁厚的影响,实现了密闭容器内液位高度的真正非接触测量。超声波探头安装于被测容器外壁的正下方(底部),无需对被测容器开孔...
非满管电磁流量计是如何测量流量的?
2020-02-23
电磁流量计 属于速度流量计的一种,电磁流量计所测得的体积流量实际上不受流体密度、黏度、温度和压力变化的明显影响,还可应用于腐蚀性流体的测量,因而广泛应用于工业生产。目前市面上大多数的电磁流量计仅能用于满管的流量测量,对于流...
智能电磁流量计的软件实现方法学
2020-02-07
智能电磁流量计 的软件实现方法学 电磁流量计软件系统是个嵌入式系统。嵌入式操作系统种类繁多,目前市场上共有几十种操作系统,有深嵌入系统,也有浅嵌入系统:有多任务系统,也有单任务系统;有实时系统,也有分时系统。虽然不同的嵌入式系统...
液位报警器在密闭计量罐上的应用
2020-01-17
1.液位报警器的结构原理 计量罐在工作中易发生液位高或超低、冒罐、烧损打油泵等事故,不仅造成设备损坏,而且使油品大量跑损,污染环境,造成及大的经济损失和社会影响。为避免计量罐液位高或超低、冒罐等事故发生,在 计量罐上安装高、超低...
一种可方便拆卸电极的电磁流量计
2020-01-17
背景技术 电磁流量计 产品可广泛应用于化工、钢铁、煤炭、矿治、石油开采、石化、造纸、环保、制糖、制药、食品、水利灌溉、给排水和港口疏浚等领域,电磁流量计尤其在各种桨类流体的测量中有其独特的优势,可*地測量各种酸、碱、盐溶液...
电磁流量计用于工业硫酸计量
2020-01-14
工业硫酸计量是各硫酸厂比较头痛的事情,现大多数硫酸厂均采用浮标计量。这种计量方法误差比较大。为解决硫酸计量难题,硫酸厂使用了LE系列 电磁流量计 并在厂区成品岗位安全运行三年多,计量精度达到设计要求。 1. 电磁流量计 筒介 以往电...
一种16个电极的电磁流量计
2020-01-10
电磁流量计 是60年代随着电子技术的发展而迅速发展起来的新型流量测量仪表。它根据法拉第电磁感应定律制成,用来测量导电流体的体积流量。由于其独特的优点,目前已广泛地应用于工业上各种导电液体的测量。例如,测量各种酸、碱、盐等腐蚀...
浅谈压力变送器的选型与安装
2019-12-26
浅谈压力变送器的选型与安装 压力仪器仪表在国民经济的各个领域内都有着非常广泛的应用。在现代工业生产过程中,压力是一个非常重要的参数。压力、温度、流量一起并称为工业自动化控制三大要素。因此,为保证压力变送器的合理、可靠...
一种电磁流量计的脱蜡装置
2019-12-23
电磁流量计 背景技术 现有的基于法拉第电磁感应定律设计的电磁流量计虽然能测量导电流体的流量,但在测量油田井口采出的含蜡原油流量时,由于当温度低于45℃石蜡就会粘覆在电磁流量计的计量导管内壁上,使计量导管腔颈截面面积变小,造成含...
磁翻板液位计普遍应用故章的分辨与解决!
2019-12-23
磁翻板液位计优点分析及在油田液位测量中的应用 最近几年来,伴随着油田开发生产与管理水平的不断提高,对于单井计量数据的准确性比以前有了更高的要求。由于以前的计量方法以及使用玻璃管液位计来计量油均存在不同程度弊端;因玻璃...
电磁流量计传感器安装环境的选择
2019-12-23
随着市场经济(Economy)的调整发展,流量(单位:立方米每秒)仪表行业迅速壮大,生产(Produce)电磁流量计的厂家也越来越多,随之而来的竞争(competition)也越来越烈,电磁流量计是流量计量仪表中最稳定(解释:稳固安定;没有变动),精度(*度)*的一...
首页
上一页
11
12
13
14
15
16
17
下一页
末页
1
2
3
4
5
6
7
8
9
10
11
12
13
14
15
16
17
18
19
20
21
22
23
24
25
26
27
28
29
30
31
32
33
34
35
36
37
38
39
40
41
42
43
44
45
46
47
48
49
50
51
52
客户服务热线
15358667860
联系我们